Access the Code of Practice online

This registration will be required once-only per browser/device, which is achieved using a cookie stored on your device.

There is no password required, and your information will not be shared with any third parties.

Please register and accept the terms for the NZMRM online COP
By ticking this box you confirm that you have read and accept the Terms listed below.
  • The information below will be used for our analytics ONLY.
  • No personal information will be shared with any third party.
  • Your email address will used for notifications of quarterly updates of the COP.
  • Updates may affect compliance documents.


Disclaimer

Although the information contained in this Code has been obtained from sources believed to be reliable, New Zealand Metal Roofing Manufacturers Inc. makes no warranties or representations of any kind (express or implied) regarding the accuracy, adequacy, currency or completeness of the information, or that it is suitable for the intended use.

Compliance with this Code does not guarantee immunity from breach of any statutory requirements, the New Zealand Building Code or relevant Standards. The final responsibility for the correct design and specification rests with the designer and for its satisfactory execution with the contractor.

While most data have been compiled from case histories, trade experience and testing, small changes in the environment can produce marked differences in performance. The decision to use a particular material, and in what manner, is made at your own risk. The use of a particular material and method may, therefore, need to be modified to its intended end use and environment.

New Zealand Metal Roofing Manufacturers Inc., its directors, officers or employees shall not be responsible for any direct, indirect or special loss or damage arising from, as a consequence of, use of or reliance upon any information contained in this Code.

New Zealand Metal Roofing Manufacturers Inc. expressly disclaims any liability which is based on or arises out of the information or any errors, omissions or misstatements.

If reprinted, reproduced or used in any form, the New Zealand Metal Roofing Manufacturers Inc. (NZMRM) should be acknowledged as the source of information.

You should always refer to the current online Code of Practicefor the most recent updates on information contained in this Code.

Scope

This Code of Practice provides requirements, information and guidelines, to the Building Consent Authorities, the Building Certifier, Specifier, Designer, Licensed Building Practitioner, Trade Trainee, Installer and the end user on the design, installation, performance, and transportation of all metal roof and wall cladding used in New Zealand.

The calculations and the details contained in this Code of Practice provide a means of complying with the performance provisions of the NZBC and the requirements of the Health and Safety at Work Act 2015.

The scope of this document includes all buildings covered by NZS 3604, AS/NZS 1170 and those designed and built under specific engineering design.

It has been written and compiled from proven performance and cites a standard of acceptable practice agreed between manufacturers and roofing contractors.

The drawings and requirements contained in this Code illustrate acceptable trade practice, but recommended or better trade practice is also quoted as being a preferred alternative.

Because the environment and wind categories vary throughout New Zealand, acceptable trade practice must be altered accordingly; in severe environments and high wind design load categories, the requirements of the NZBC will only be met by using specific detailing as described in this Code.

The purpose of this Code of Practice is to present both Acceptable Trade Practice and Recommended Trade Practice, in a user-friendly format to ensure that the roof and wall cladding, flashings, drainage accessories, and fastenings will:

  • comply with the requirements of B1, B2, E1 E2 and E3 of the NZBC;
  • comply with the design loading requirements of AS/NZS 1170 and NZS 3604 and with AS/NZS 1562;
  • have and optimised lifespan; and
  • be weathertight.

COP v26.03:Flashings; Flashing-Expansion-Details

8.10 Flashing Expansion Details 

Expansion should be considered at the design stage, and the flashing details should be included in the working drawings and tender documents. As flashings cannot move in the lateral direction without stress, they should have some provision for longitudinal expansion when their length exceeds 18m or for lesser distances for visible flashings such as fascias and facades.

When using an expansion joint, independence of movement should be assured by the omission of any fixing through both sides of the joint. Preferred and acceptable slip joint expansion details are shown in 8.10A Apron Slip-joint and 8.10B Ridge Slip-joint. Soaker expansion joints relying on sealant should not be used.

Slip joints require sealants, not to make them weatherproof, but to exclude dust and dirt from two close-fitting surfaces, which can retain moisture by capillary action and cause corrosion. Rivets and other fasteners must not prevent movement of the slip joint.

 

 

 

8.10.1 Flashing Expansion 

Before any transverse flashings are fixed, the framing timber must have a maximum moisture content below 18%.

Transverse flashings, such as ridging, are sometimes prone to excessive buckling, which is blamed on metal expansion but is usually due to timber shrinkage and a phenomenon known as compression timber. Abnormal growth causes this defect in timber, and it can shrink up to 10 times more than normal. It is not easy to recognise compression timber, and roofers are advised to measure the moisture content, particularly of ridge purlins, before fixing.

An alternative is to use steel top hat purlins.

Fixing roof cladding should be treated in the same way as internal linings, i.e., do not fix transverse flashings when the moisture content of any timber is more than 18%. The thickness of flashings should always comply as specified in 8.1 Flashing Materials

If flashings are positively fixed, framing timber that does not meet this requirement can cause failure of ridging and flashings due to timber shrinkage when drying.

The metal expansion allowances quoted in many publications can be misleading because the information is based on theoretical metal expansion values and is not related to real-world conditions.

Figures published for metal expansion rates are given linearly per degree, but it does not take into account the many other factors that mitigate the theoretical figure.  (See 7.3 Thermal Expansion And Contraction.) 

It is necessary to make provision for cladding and flashing movement; when long lengths are used and positively screwed or riveted together, they should be regarded as one length.

The maximum length before expansion provision should be made for either cladding or flashings will vary according to colour, micro-climate, ventilation and fixing spacings. It is, however, possible to provide indicative figures based on a study of empirical data over time. The maximum recommended flashing length without any expansion provision is similar to that of roof cladding. (See 7.3.2 Roof Cladding Expansion Provisions.)

Aluminium rivets, which have a low shear value, will fail when there is no provision made for expansion in flashing lengths of over 12 m. Using aluminium rivets is only acceptable if they are used at the prescribed distances, and are not used to replace expansion joints.

Lengths of coated steel ridging, cappings, and apron flashings over 12 m should have a slip joint as described in 8.10 Flashing Expansion Details.

Inadequate provision for expansion can also cause roof noise.

8.10.2 Building Expansion Joints 

Expansion joints should be designed to accommodate contraction and expansion. Expansion joints should be detailed and constructed to a minimum height of 100 mm above the roof cladding, and curb-type expansion joints should be designed and installed to ensure drainage of the roof and to prevent any damming of water.

Wood curbing secured to the substrate on both sides of an expansion joint should be flashed with a metal capping capable of acting as an expansion joint cover.

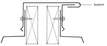
Expansion joints have two main designs.

1. A 8.10.2A One-piece Expansion Joint to accommodate movement using a central bellows or roll that allows the flashing to be positively fixed on both sides.

2. A two-piece design to accommodate movement by the use of hemmed edges, with sufficient clearance for the expected movement.

Both of these designs are shown as a parapet following the pitch of the roof. Where this is not the case, the top of flashing should have a 3 – 5˚ slope as for all other parapet flashings. (See 8.5.3 Parapet Cappings).

Metal wall construction joint flashings that are embedded in the wall should be made with a bellows or other means of accommodating movement without fatigue and have a durability of 50 years.